本文提供一種散熱風扇固定裝置,特別是指一種電腦主機的散熱風扇固定裝置。
電腦主機是為電腦的靈魂,由於其內具有一些發熱元件,如CPU,所以在散熱上極為重要,尤其是目前的資訊成人抖音在线看追求大容量與高效率之際,散熱即成為不得不麵對的問題。
不可否定,目前的散熱方式,是以所謂“散熱風扇”為之,亦即經由風扇的吹風,使熱量被驅除,所以,散熱風扇的設置,乃至於其與機殼本體間的連接,值得成人抖音在线观看下载關切。
於較大型主機場合,其所需的散熱風扇當不止一隻,如電源用的,發熱元件用的,乃至於其它元件使用的,在多風扇設置場合,若分別設置,在組裝上,乃至於機殼設計上,更是複雜,所以,如何以簡潔與便捷的設計,而為電腦主機的散熱風扇的固定,是值得成人抖音在线观看下载關切的課題。

有鑒於此,本文的目的在於提供一-種電腦主機的風扇固定裝置,其可使散熱風扇的固定,更為便捷,且不論在組裝上或拆卸換裝,均可有效節省人工,尤其是,其簡潔的設計,使主機下蓋可騰出較為方正的空間,此有助於電腦中的電路板的排列。
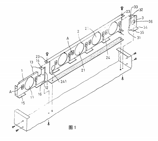
本文一種電腦主機的風扇固定裝置,是可垂直固設於電腦主機下蓋,其特征在於,其包括:一左片,是為金屬片體,其具一貫穿的左孔供散熱風扇嵌置,右側緣則一-體衝壓向後形成具一段落差的左緣,上方則一體延伸並彎折形成水平向的頂片,且開具一頂孔,下方亦一體延伸並彎折形成水平向的底緣,且開具一底孔;一中片,亦為金屬片體,且具若幹的中孔,上方一體延伸彎折形成水平向的中頂片,且端處開具中頂孔,而其底部則具若千一體延伸彎折呈水平向的中頂片,且端處開具中頂孔,而其底部則具若千一體延伸彎折呈水平向的中底片;一右片,是為金屬片體,左側具一體衝壓形成落差的右片左緣,且上方亦一體延.伸呈水平向的右底片,且開具右底孔;右片以底孔螺合於機殼下蓋,且右片以右底片孔螺合於機殼下蓋,中片則以中孔螺合於左片的頂孔及右片的右頂孔,以形成定位。
其中的中片外側兩中底片得開具中底片槽,以供嵌合於下蓋突起的榫體。
其中的左孔與中孔周緣,得設置構件以供散熱風扇組裝。
其中的左片是供電源風扇嵌置,而右片得開具右片孔以供線路的穿越。