本文涉及一種電腦散熱風扇定位裝置,特別是涉及一種可根據電腦基板上中央處理器的位置調整散熱風扇並使電腦係統獲得最好的散熱及通風效果的定位裝置。
散熱及通風是電腦係統中最重要的問題之一,特別是對於電腦基板上的發熱電子元件,如中央處理器所產生的熱量,若不能及時、適當地加以排除,勢必影響電腦整體功能。以往對於電腦內部的散熱問題,其解決方法均采用增加電腦殼體內空氣對流以達到散熱目,其大致可區分為下列兩大類:
1.被動式對流散熱,一般裝設散熱片(Heat Sink)於中央處理器,藉電腦係統內電源供應器的風扇帶動電腦殼體內空氣的流動,並配合電腦殼體.上適當位置的通風孔,造成殼體內外空氣對流,帶走中央處理器所產生的熱。
2.主動式對流散熱, 在裝設散熱片的中央處理器上直接增設一散熱風扇,迫使空氣對流集中於中央處理器的正上方,藉此排出中央處理器所產生的熱。

對於整體電腦係統而言,被動式對流的散熱效果顯然不如主動式對流散熱好。然而,主動式對流散熱僅將空氣對流集中於中央處理器,對於電腦內部其它熱源的散熱效果並不見得比被動式對流散熱效果好。同時,主動式對流散熱必須加裝一尺寸較小的風扇,該散熱風扇的工作效率常常受到中央處理器的溫度影響,而會有不穩定甚至使風扇壽命減短的情形發生,進而影響中央處理器的操作特性。況且,散熱風扇的尺寸越小其製造的困難度及精密度要求就越高,同時又必須降低溫度對其所產生的影響,因此,在成本上顯然會比被動式對流散熱裝置超出許多。
不論是被動式對流散熱還是主動式對流散熱,當電腦殼體內插置擴充卡及其它排線等裝置後,電腦殼體內空氣流通十分不流暢,進而影響其散熱效果。倘若在電腦殼體特定位置加裝散熱風扇,增加殼體內空氣對流,不論中央處理器以主動式對流散熱還是被動式對流散熱,都將增加電腦係統的散熱效率。然而,相同規格下不同的電腦基板上,其中央處理器所配置的位置也不完全相同,增強後的散熱氣流無法確定通過每一不同電腦基板配置的中央處理器位置,以達到最好的散熱效果。因此,中央處理器散熱的問題仍舊無法得到最好的解決方案。
由上述可知,現有技術中不論是主動式被動式對流散熱或者在電腦殼體上加裝風扇,對於電腦殼體內的散熱均存有一定的問題並急需改善。以上相關的現有技術可參考美國專利第4,712, 159、4, 890, 196、5, 208, 731、5, 276, 585、5, 486, 980以及5, 502, 619號等。
本文的目的在於提供一種電腦散熱風扇定位裝置,可將散熱風扇固定在可使空氣產生適當對流的位置,使電腦基板的發熱電子元件,如中央處理器等,能獲得最好散熱效果。
本文的另一目的在於提供一種電腦散熱風扇定位裝置,其可將電腦殼體外部的空氣導入,使該空氣直接送到電子元件上方,以達較好的散熱效果。
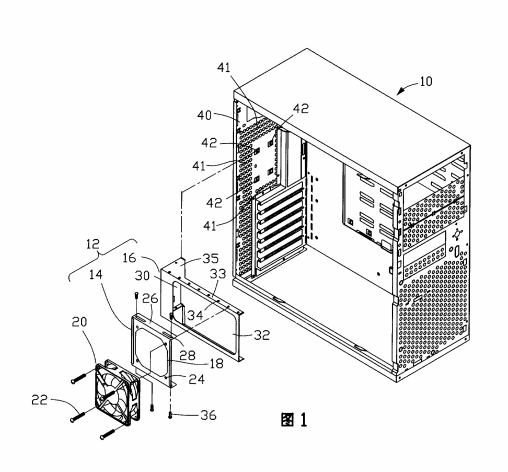
本文的目的是這樣實現的,一種電腦散熱風扇定位裝置,裝設於電腦殼體,其上的電腦風扇組合體用以冷卻電腦基板上的電子元件,該電腦散熱風扇定位裝置包括:固定架,裝設於所述電腦殼體;散熱風扇固定架,用以裝設所述電腦散熱風扇組合體;藉此, 該電腦散熱風扇組合體可將冷卻空氣導入所述殼體內,並使空氣流通於該電子元件以達到散熱效果。
本文還提供一種電腦散熱風扇定位裝置,裝設於電腦殼體,所述電腦風扇用以冷卻電腦基板上發熱的電子元件,所述電腦風扇定位裝置包括:第一部分,裝設於所述電腦殼體;第二部分,用以裝設電腦散熱風扇組合體;所述電腦.殼體在裝設所述電腦散熱風扇定位裝置部位周緣設有至少一通孔,所述電腦風扇組合體可將冷卻空氣經所述通孔導入所述殼體內,使空氣流通於所述電子元件以達到散熱的效果。
本文的主要特點是,將散熱風扇裝設於電腦殼體.上,可將電腦殼體外的空氣導入並加強電腦殼體內空氣對流,並可配合電腦基板上中央處理器的位置,改變散熱風扇的位置,使空氣的對流集中於中央處理器,進而造成中央處理器獲得最好的散熱效果。其主要包括有:風扇座,用於裝設電腦散熱風扇;支架,包括固定架(第一部分)及風扇固定架(第二部分),其中,該固定架固設於電腦殼體,該散熱風扇固定架用於裝設風扇座,且可根據電腦基板配置的不同調整該風扇座的位置。
本文裝置的優點在於,其可配合電腦基板的配置,調整風扇的安裝位置,從而達到散熱最好的效果,且安裝方便,拆禦容易,以致便於風扇拆裝。